《金证研》南方资本中心 宁致/作者 浮生 西洲/风控
当今世界已掀起了一股“绿色风潮”。其中,局限在开发生产末端的污染控制技术所能到达的环境保护显然是有限的,通过改进生产的工艺与加强生产过程的管理来实现“绿色化”生产可能更为有效,于是“绿色制造”的概念应运而生。绿色制造又称“清洁制造”,其目标是使产品从设计、生产、运输到报废处理的全过程对环境的负面影响达到最小。
然而,以绿色制造技术的研发、产业化及技术服务为主业的河北美邦工程科技股份有限公司(以下简称“美邦科技”)上市背后,2022年全年的污染排放物监测中,频频被监测出污染物超标排放的情况,社会责任或遭拷问。不止如此,美邦科技子公司的在建工程建设状态现不同版本,且美邦科技另一项项目涉嫌未验先投。而美邦科技此次上市聘请的审计机构及律所,均因执业问题“吃”警示函,二者能否勤勉尽责,或该打上“问号”。
一、空气污染物频频被监测出超标排放,自诩颗粒物监测数据超标属于正常或遭“打脸”
随着“绿山青山就是金山银山”的理念深入人心,有关部门对企业环保问题的审查也愈加趋严。
反观作为化工企业的美邦科技,在自诩环保制度完善背后,2022年,其污染物频现污染物超标排放的情形,令人唏嘘。
1.1 称子公司污染物排放情况均达标,积极进行配合不定期现场检查并进行完善
据美邦科技签署日为2023年5月8日的招股书(以下简称“招股书”),宁夏美邦寰宇化学有限公司(以下简称“美邦寰宇”)是美邦科技控股子公司。截至2023年5月8日,美邦科技对美邦寰宇持股65%。
在业务层面,美邦寰宇是美邦科技精细技化工产品业务中四氢呋喃等产品的运营主体。
同时,湖北科林博伦新材料有限公司(以下简称“科林博伦”)亦是美邦科技的控股子公司,美邦科技对其持股61.95%。
在业务层面,科林博伦是美邦科技精细化工产品业务中甲苯氧化系列产品的运营主体。
在此背景下,美邦科技表示,除美邦寰宇、科林博伦外,美邦科技及其他下属子公司生产经营中不涉及污染物的大量产生和排放。并且,报告期内即2020-2022年,美邦寰宇、科林博伦污染物排放情况均达标,符合相关法律法规要求。
此外,美邦科技声称,其日常排污监测主要委托有资质第三方检测机构开展。报告期内,2020-2022年,美邦寰宇共进行了36次日常排污监测,科林博伦共进行了72次日常排污监测,根据该等排污监测报告的记录,美邦寰宇及科林博伦的日常排污检测结果均为达标。
不仅如此,招股书显示,2020-2022年,美邦寰宇及科林博伦的主管环保部门不定期对其生产经营过程中的排污情况进行现场检查,美邦科技均积极进行配合,并根据环保部门的处理意见,对于相关环保事项进行完善。美邦科技历次环保检查中均未发现重大环保问题,不存在因违反国家及地方环境保护法律、法规及规范性文件而受到主管部门行政处罚情形。
然而,事实或并未如此。
1.2 被问询是否存在环保情况的负面内容,是否受到环保部门行政处罚
据出具日为2023年3月7日的《关于河北美邦工程科技股份有限公司公开发行股票并在北交所上市申报文件的审核问询函回复》(以下简称“首轮问询回复”),监管层要求美邦科技说明报告期内是否发生过环保事故或重大群体性的环保事件,是否存在环保情况的负面内容,是否受到环保部门行政处罚或被要求整改。
对此,美邦科技声称,2019-2021年及2022年1-9月内,美邦科技及下属子公司重视环保工作,未发生过环保事故或重大群体性的环保事件。
1.3 首轮问询显示美邦寰宇被指超标排放,系因停炉后氧含量升高致颗粒物监测数据超标
同时,据首轮问询回复,美邦科技通过检索发现,子公司美邦寰宇存在一项关于环保情况的负面内容。该内容发布时间为2022年1月21日,其指出美邦寰宇存在超标排放情况。
对此,美邦科技作出说明,上述内容中存在的超标排放情况系其锅炉停炉后在线监测系统数据存在一定延迟所致,美邦寰宇实际经营过程中不存在超标排放的行为,主管部门亦未因该等情况给予美邦寰宇行政处罚。
同时,2022年5月11日,苏银产业园管理委员会国土和规划建设部、银川市生态环境综合执法支队出具《关于宁夏美邦寰宇化学有限公司因大气污染物超标排放通报的核实情况说明》,确认经现场核查,美邦寰宇的污染物监控数据超标的情况系因停炉后氧含量升高导致颗粒物监测数据超标,属于正常情况,美邦寰宇不存在污染物超标排放的情况。
可见,关于2022年美邦寰宇曾出现的超标排放情况,美邦科技解释称系因停炉后氧含量升高导致颗粒物监测数据超标,属于延迟所导致的正常情况。
但《金证研》南方资本中心研究发现,美邦寰宇的超标排放的污染物或不止颗粒物一项。
1.4 空气污染物主要分为气态污染物和颗粒物两类,二氧化硫属于气态污染物
据武汉市生态环境局数据,空气中的污染物主要分为两类,即气态污染物和颗粒物。气态污染物主要有二氧化硫(SO2)、氮氧化物(NOx)、一氧化碳(CO)、碳氢化合物、臭氧(O3)等;颗粒物主要有粉尘、酸雾、气溶胶等。
据联合国公开信息,世界卫生组织列出了六种“典型”空气污染物:一氧化碳(CO)、铅(Pb)、二氧化氮(NO2)、悬浮颗粒物(SPM)(包括尘土、烟灰、烟雾和烟尘)、二氧化硫(SO2)和对流层臭氧。
显然,颗粒物与气态污染物属于两种不同的空气污染物。
视线回到子公司美邦寰宇,其超标排放的污染物或并不止颗粒物一种。
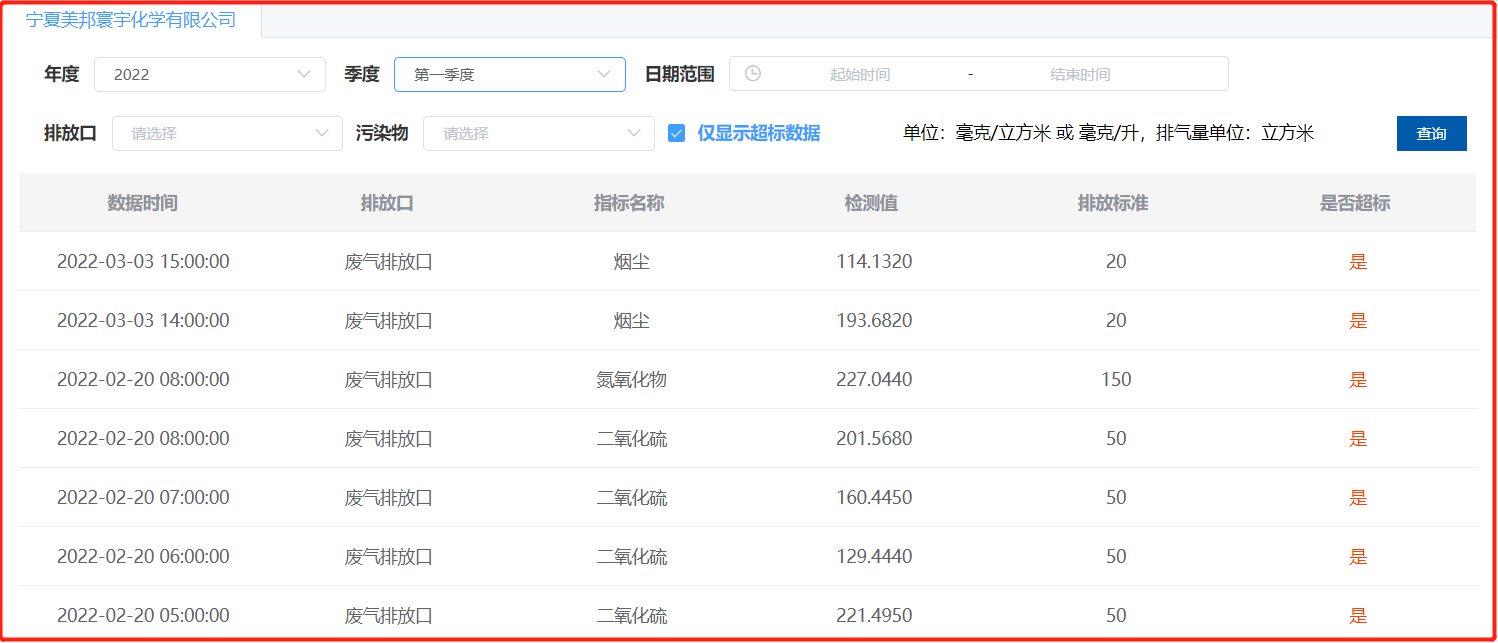
1.5 2022年第一季度,美邦寰宇废气排放口共被监测出65次污染物排放超标
据广州绿网环境保护服务中心(以下简称“绿网”)披露的美邦寰宇排污检测数据,2022年第一季度,美邦寰宇废气排放口被监测出65次排放超标,污染指标涉及烟尘、二氧化硫、氮氧化物等。
具体来看,在美邦寰宇65次超标排放中,烟尘超标排放36次、氮氧化物超标排放5次、二氧化硫超标排放24次。
且超标排放污染物包括烟尘、氮氧化物、二氧化硫,最高超标117倍。
值得关注的是,据绿网数据,2022年2月19日15时,美邦寰宇烟尘排放的检测值为2,358.03,而烟尘排放的标准值为20,即美邦寰宇超标逾117倍;2022年2月19日16时,美邦寰宇二氧化硫排放的检测值为3,091.06,而二氧化硫排放标准值为50。即美邦寰宇超标排放60倍有余。

1.6 2022年第二季度、第四季度,美邦寰宇废气排放口共被监测出9次超标
再来关注2022年第二季度,绿网数据指出,美邦寰宇废气排放口被监测出8次超标排放。其中烟尘超标排放4次,二氧化硫超标排放3次,氮氧化物超标排放1次。
值得注意的是,2022年5月14日11时,美邦寰宇二氧化硫排放检测值为2,452.475,而二氧化硫排放的标准值为50,即美邦寰宇超标排放近50倍。

需要说明的是,到了2022年第四季度,美邦寰宇废气排放口仍被监测出1次二氧化硫超标排放。
经《金证研》南方资本中心不完全统计,2022年全年,美邦科技子公司美邦寰宇的废气排放口共有74个时间段被监测出污染物排放超标,不仅涉及烟尘,还涉及二氧化硫、氮氧化物等。

也即是说,2022年,美邦科技子公司超标排放的空气污染物既包括烟尘等颗粒物,又包括二氧化硫、氮氧化物等气态污染物。则美邦科技在招股书中声称,其污染物超标排放仅系因停炉后氧含量升高导致颗粒物监测数据超标,此说法或“站不住脚”。进一步而言,美邦科技的环保内控制度或成“摆设”。
二、子公司项目建设状态与自验信息存“出入”,信披真实性迷雾重重
本次上市,美邦科技的工程建设情况受到了监管层问询,要求美邦科技对现有工程是否符合环境影响评价文件要求,是否落实污染物总量削减替代要求等情况做出说明。
“蹊跷”的是,美邦科技在问询回复中称,截至出具日2023年3月7日,一项子公司的项目状态为在建,不涉及环保竣工验收。而官方信息显示,早在2022年8月该项目已竣工验收。
2.1 被问及现有工程是否符合环评要求,是否落实污染物总量削减替代要求
据首轮问询回复,监管层要求美邦科技说明截至出具日2023年3月7日的现有工程,并说明是否符合环境影响评价文件要求,是否落实污染物总量削减替代要求,是否获得相应级别生态环境主管部门环境影响评价批复。
对此,美邦科技称,截至首轮问询回复出具日2023年3月7日,其已建、在建及募投项目履行的主管部门审批、核准、备案等程序符合环境影响评价文件要求。
2.2 回复称子公司美邦美和研发中心项目仍在建,不涉及环保竣工验收
其中,首轮问询回复显示,截至出具日2023年3月7日,美邦美和生物科技有限公司(以下简称“美邦美和”)的生物酶制品研发中心项目(以下简称“研发中心项目”),环评批复号为石高环表[2021]044号,项目状态为在建,尚不涉及环保竣工验收。
需要指出的是,招股书显示,截至签署日2023年5月8日,美邦美和是美邦科技全资子公司,并且是美邦科技生物健康业务领域的运营主体。
同时,结合市场监督管理局公开信息来看,美邦美和成立至今,均是美邦科技的全资子公司。
值得一提的是,美邦美和“研发中心项目”涉及设备购置等固定资产内容。
2.3 该项目竣工时间为2022年5月12日,验收起始时间为2022年8月
2021年9月28日,石家庄高新技术产业开发区管理委员会(以下简称“石家庄高新区管委会”)披露《关于美邦美和生物科技有限公司生物酶制品研发中心项目环境影响报告表的批复》(以下简称“环评批复”)。
环评批复显示,该项目名称为“美邦美和生物科技有限公司生物酶制品研发中心项目”,环评批复号为石高环表[2021]044号,建设主体为美邦美和,该项目主要建设内容为对租用厂房进行提升改造,并购置离心机、均质机、酶反应器、检测仪器等主要设备22台。项目建成后,主要进行生物菌开发、生物酶制剂、保健品原料中间体等实验。
对比项目名称、建设主体、环评批复号等信息可知,招股书披露的美邦美和研发中心项目,与上述环评批复披露的“美邦美和生物科技有限公司生物酶制品研发中心项目”,或系同一项目。
“蹊跷”的是,该项目在2022年已竣工验收。
据绿网披露的“美邦美和生物科技有限公司生物酶制品研发中心项目”自验信息,该项目环评审批文号为石高环表[2021]044号,环评批复时间为2021年9月27日,运营单位为美邦美和,实际总投资为2,000万元,项目竣工时间为2022年5月12日,验收报告公开起始时间为2022年8月26日,验收报告公开结束时间为2022年9月23日,自验信息提交时间为2022年11月25日。
对比项目名称、建设主体、环评批复号、项目投资额可知,招股书披露的研发中心项目、石家庄高新区管委会披露的“美邦美和生物科技有限公司生物酶制品研发中心项目”,与绿网的自验信息披露的“美邦美和生物科技有限公司生物酶制品研发中心项目”,均为同一项目,以下统称为研发中心项目。
也就是说,子公司美邦美和的“研发中心项目”在2022年5月已竣工验收,美邦科技却在此后出具的首轮问询回复中表示,该项目仍处于在建状态,不涉及环保竣工验收,令人费解。

需要说明的是,当满足固定资产确认条件时,固定资产应当及时予以确认。
2.4 招股书显示在满足固定资产转入条件时,固定资产应当及时予以确认
据招股书,在建工程成本按实际工程支出确定,包括在建期间发生的各项工程支出、工程达到预定可使用状态前的资本化的借款费用以及其他相关费用等。在建工程在达到预定可使用状态后结转为固定资产。
显然,依照美邦科技的会计政策,在建工程达到可使用状态时应当按照实际成本转入固定资产。
招股书显示,固定资产是指为生产商品、提供劳务、出租或经营管理而持有的,使用寿命超过一会计年度的有形资产。固定资产仅在与其有关的经济利益很可能流入本公司,且其成本能够可靠地计量时才予以确认。固定资产按成本并考虑预计弃置费用因素的影响进行初始计量。
至此不难发现,公开信息显示,子公司研发中心项目早在2022年8月已竣工验收,该项目却在2023年出具的首轮问询回复中,仍被美邦科技披露为尚在建设状态。信披矛盾背后,美邦科技是否存在推迟转固以美化报表的嫌疑?不得而知。
三、子公司建设项目投产时间早于环保验收报告提交时间,涉嫌“未验先投”
内部治理能力是保障企业健康有序发展的基石。反观美邦科技,子公司科林博伦在项目建设中,出现投产时间早于环保验收时间的“异象”。
3.1 子公司科林博伦官网披露,“苯甲醇项目一期”2018年9月建成投产
上述提及,科林博伦是美邦科技控股子公司。
据科林博伦官网“招聘动态”部分,截至查询日2023年5月11日,科林博伦“年产3万吨苯甲醇项目”是地方政府通过招商引资引进的重点项目。
该项目一期2016年11月开始建设,2018年9月建成投产,二期预计2022年建成投产,届时年可实现销售收入12亿元,创造利润2亿元,年缴税收过亿元。

3.2 2018年11月,科林博伦举行无氯苯甲醇系列产品首次销售发货仪式
此外,公开信息亦显示,2018年11月15日,科林博伦举行无氯苯甲醇系列产品首次销售发货仪式,标志着科林博伦年产3万吨苯甲醇项目建成,并进入生产经营阶段。
该项目建成后,可实现年销售收入12亿元,利税2亿元。
对比上述运营主体、项目名称,以及达产后的预期效益可知,公开信息中“3万吨苯甲醇项目”,与科林博伦官网披露的“年产3万吨苯甲醇项目”,系同一项目,以下统称为“苯甲醇项目”。
经《金证研》南方资本中心梳理时间线可知,科林博伦的苯甲醇项目一期在2016年11月开工建设,于2018年9月建成投产。两个月后即2018年11月,科林博伦开始首次销售无氯苯甲醇系列产品。
“蹊跷”的是,苯甲醇项目或存在“未验先投”的嫌疑。
3.3 项目自验信息显示,“苯甲醇项目”验收报告提交于2019年11月
据首轮问询回复,科林博伦“苯甲醇项目”的环评批复号包括宜市环审[2016]81号、宜市环审[2018]52号。
据绿网披露的《市环保局关于湖北科林博伦新材料有限公司年产3万吨苯甲醇项目环境影响报告书的批复》(以下简称“苯甲醇项目环评批复”),科林博伦“年产3万吨苯甲醇项目”位于枝江市姚家港化工园沿江二路,宜昌市环境保护局以宜市环审[2016]81号对该项目环境影响报告书进行了批复。
按照要求,妹对厂区平面布局进行了调整,将原设计位于科林博伦厂区南部距长江1km范围内的储运工程和环保工程,调整到距长江1km外的厂区北部建设,同时对项目生产工艺进行了优化,为此重新报批该项目环境影响报告书。环评批复号为宜市环审〔2018〕52号。
对比项目名称、建设主体、环评批复号可知,美邦科技问询回复中披露的苯甲醇项目,与绿网披露的科林博伦“年产3万吨苯甲醇项目”,为同一项目。
据绿网披露的科林博伦“湖北科林博伦有限公司年产3万吨苯甲醇项目(一期)”自验信息,该项目运营单位为科林博伦,环评审批文号为宜市环审[2018]52号,竣工时间为2018年11月11日,验收报告公开起始时间为2019年11月5日,验收报告公开结束时间为2019年11月26日,自验信息提交时间为2019年11月5日。
对比项目名称、建设主体、环评批复号可知,上述绿网自验信息中的“湖北科林博伦有限公司年产3万吨苯甲醇项目(一期)”,或即为苯甲醇项目的一期工程。

需要说明的是,未经环保验收的项目不得投入生产。
据现行有效的《建设项目环境保护管理条例(2017年修订版)》第十九条,编制环境影响报告书、环境影响报告表的建设项目,其配套建设的环境保护设施经验收合格,方可投入生产或者使用;未经验收或者验收不合格的,不得投入生产或者使用。
至此不难发现,科林博伦“苯甲醇项目”一期工程于2018年9月竣工投产,于2018年11月正式运营交付。但上述自验信息显示,该项目一期工程或于2018年11月正式竣工,并于2019年11月开始公示项目验收报告。换言之,科林博伦“苯甲醇项目”一期工程或投产后一年才进行项目环保验收工作,该项目是否涉嫌“未验先投”?存疑待解。
四、律所因执业问题被“点名”,审计机构频“吃”警示函或难勤勉尽责
审计机构及律师事务所作为资本市场的“守门人”,其执业质量同样值得重视。然而,美邦科技审计机构存在多起被出具警示函的情形,其律师事务所也同样被出具警示函。
4.1 中兴华是美邦科技的审计机构,多次因审计程序不到位等问题被出具警示函
据招股书,此次上市,中兴华会计师事务所(特殊普通合伙)(以下简称“中兴华”)是美邦科技的审计机构。
需要指出的是,中兴华曾多次因执业问题“吃”警示函。
据证监会宁波监管局披露的行政监管措施决定书[2018]20号文件,2018年12月5日,中兴华在其执行的余姚市四明山旅游投资发展有限公司2013年和2014年公司债券财务报表审计项目当中,因存在在建工程审计程序执行不到位等问题,被采取出具警示函的监督管理措施。
据证监会陕西监管局2020年1月14日发布的陕证监措施字[2020]5号文件,2020年1月14日,中兴华及注册会计师于洋、肖中友在陕西伟恒生物科技股份有限公司2017年年报审计执业中,因货币资金审计程序执行不到位,审计证据不充分,往来款函证程序执行不到位,审计底稿不完备等问题,被采取出具警示函的监督管理措施。
据黑龙江证监局2023年3月31日发布的监管措施[2023]4号文件,2023年3月31日,中兴华在光智科技股份有限公司2021年度财务报表审计项目中,因存在存货审计程序执行不到位、固定资产审计程序执行不到位、函证程序执行不到位、保留意见涉及事项内容表述有误等问题,被黑龙江证监局采取出具警示函的行政监管措施。
不难发现,2018-2023年间,美邦科技的审计机构中兴华曾多次因审计程序执行不到位等问题,被当地监管局出具警示函。
问题尚未结束,中兴华还曾于2019年被认定审计程序存在重大缺失。
4.2 2019年中兴华曾因违反自律管理规则及审计程序存重大缺失,被暂定相关业务
据银行间市场交易商协会(以下简称“交易商协会”)2019年7月18日发布的《交易商协会警告中兴华会计师事务所并暂停其业务》,中兴华作为洛娃科技实业集团有限公司2017年年度财务报告审计机构,违反多项银行间市场相关自律管理规则。因此交易商协会决定给予中兴华警告处分,责令其限期整改,并暂停债务融资工具相关业务6个月。自律处分决定自2019年7月15日正式生效。
此外,交易商协会指出中兴华在相关发行人年报审计工作中,审计程序存在重大缺失、获取审计证据严重不足,违反行业规范、业务规则,工作开展中未勤勉尽责。
值得一提的是,美邦科技的律师事务所也同样存在执业问题。
4.3 此次上市律所系中伦律所,曾因出具的法律意见书内容与事实不符被罚
据招股书,美邦科技的律师事务所为北京中伦律师事务所(以下简称“中伦律所”)。
据广东证监局发布的[2021]162号文件,2021年12月23日,广东证监局对智度科技股份有限公司(以下简称“智度股份”)进行了现场检查,并对中伦律所从事的智度股份相关证券法律业务进行了延伸检查。
检查发现,中伦律所存在出具的法律意见书内容与事实不符、未勤勉尽责审慎履行核查和验证义务,因此被广东监管局采取出具警示函的行政监管措施。

由此可见,美邦科技的审计机构中兴华多次因执业问题吃警示函。此外,美邦科技的律所事务所中伦律所也同样因执业问题被“点名”。至此,美邦科技的审计机构和律师事务,能否难勤勉尽责?
青山座座皆巍峨。未来,美邦科技在资本市场的“大山”面前能否经受考验?是个未知数。
免责声明:
本机构撰写的报告,系基于我们认为可靠的或已公开的信息撰写,我们不保证文中数据、资料、观点或陈述不会发生任何变更。在任何情况下,本机构撰写的报告中的数据、资料、观点或所表述的意见,仅供信息分享和参考,并不构成对任何人的投资建议。在任何情况下,我们不对任何人因使用本机构撰写的报告中的任何数据、资料、观点、内容所引致的任何损失负任何责任,阅读者自行承担风险。本机构撰写的报告,主要以电子版形式分发,也会辅以印刷品形式分发,版权均归金证研所有。未经我们同意,不得对报告进行任何有悖原意的引用、删节和修改,不得用于营利或用于未经允许的其它用途。